目前,随着我国经济发展和工业化进程的加快,煤气和天然气在冶炼、发电、热处理等行业的使用越来越普遍。而现在用于管网供热的气体流量
控制阀多为调节惯性大、机构复杂的气量控制阀。这类阀容易造成流量波动大、气压不稳定,这可能导致管网的压力冲击,从而影响产品质量的控制和节能降耗的管理。为了精确控制供气流量,提高节能科学水平,除了人为的意识节能以外,还要进行技术装备的改造和创新。文中介绍一种适用于供气管网的节能型气体先导流量反馈比例控制流量阀(以下简称
比例气量控制阀)。
一、比例气量控制阀结构
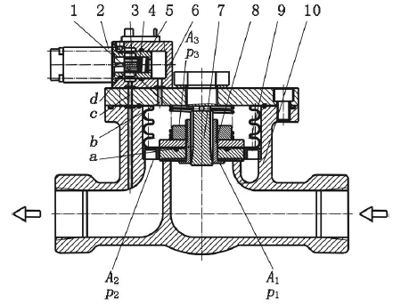
比例气量控制阀是一种机-电控制流量阀,它通过流量调节器(主阀芯)流量反馈槽的流量变化而改变先导阀的前置气压阻尼实现其流量调节,此阻尼随着主阀芯的位移升程增大而减小,先导流量则增大。流量阀的结构见图1。其先导控制阀芯与主阀芯(即流量调节器)为垂直形式,总体结构分为先导阀和主阀,先导阀由先导阀芯(沿阀芯轴向设有多个导气孔将气引向阀芯左端)、先导阀套、先导复位弹簧和比例电磁铁等组成,主阀由主阀芯、导槽阀芯、波纹管及阀体等组成。这种结构形式能较好地满足工作性能要求,适合于多种流量供气的工况。
二、比例气量控制阀工作原理
在无电流信号输入时,先导阀芯在先导复位弹簧的作用下使先导控制节流口关闭(图1),而进气口压力为p
1的气体经过主阀芯A
1截面所在的下腔和反馈槽开启端的预置阻尼孔a进入主阀芯的上腔,并进入先导阀进气口b形成压力p
3。由于先导阀关闭,气体无流动及形成流体静压平衡,且A
3截面面积大于A
1截面,主阀芯在压力p
3及弹簧力的作用下关闭出气口,无流量输出。

1.主阀弹簧 2.比例电磁铁 3.先导阀套 4.先导阀芯 5.先导复位弹簧
6.先导阀体 7.导槽芯 8.主阀芯 9.波纹管 10.主阀体
图1 比例气量控制阀结构原理图
当输出一定的电流信号时,先导阀芯在比例电磁铁电磁力的作用下快速向右移动到对应位置,先导阀的节流口随之开启到相应的开度,压力气从b口经过先导阀节流控制口、轴向导气孔d、经压差检测通过c口流向出气口(先导阀芯开度越大则主阀芯压差越大)。同时,由于气体的流动失去静压平衡,主阀芯上腔压力降低,在主阀芯截面压力p
1与主阀芯上腔截面压力p
3压差的作用下使得主阀芯向上移动,主阀流量调节口开启,压力气经过小阻尼检测流向出气口,其气体压力变为p
2。由于主阀芯的开启,形成的升程亦导致主阀芯径向的反馈槽开度加大(其反馈槽宽度为b,深度为h,当h远大于b时,构成了通流面积为b
x的先导前置阻尼),经过反馈槽及前置阻尼的流量也加大,导致了先导阀控制口的流量增大,压力p
3上升,实现了位移2流量反馈。进而,经过主阀芯的调节,p
3与p
1、p
2相互作用形成了一种力的平衡,主阀芯处于相对稳定的位置,以达到比例控制阀输出相对稳定的气体流量的目的,使得出口流量与电流的输入量成比例关系。
三、比例气量控制阀稳态特性分析
取先导阀和主阀通流面积为A(y)和A(x),进口压力p
1和出口压力p
2值给定时,可得出先导阀位移与电磁力的关系如下:

式中,y为先导阀位移,mm;F
m(i)为电磁铁的电磁力,N;k
y为先导阀弹簧刚度,N/m。若不计先导阀口的遮盖量,先导阀通流面积为:

式中,w
y为先导阀口面积增益(单位位移所形成的过流面积变化大小)。
如果忽略主阀芯稳态气动力,主阀芯力的平衡式为:

式中,k
x为主阀弹簧刚度,N/m;x为弹簧压缩量(亦为主阀芯的开口位移量),mm。
令p
2=0,x=0,则:

其中

先导气路的稳态流量平衡方程为 :

式中,α
Dx为先导阀
流量系数,α
Dy为主阀的流量系数,w
x为主阀口面积增益(主阀芯单位位移所形成的过
流面积变化大小),考虑到

,且认为α
Dx和α
Dy近似相等,则:

主阀芯流量与其位移及主阀口流量之间的关系式为:

式中,q
V为体积流量,m
3/s;D1为主阀座孔径,mm;C
1为阀口流量系数(0.77~0.8);g为重力加速度;g=9.8m/s
2;ρ为气体的密度,kg/m
3;Δp为气量控制阀的进出口压力差,MPa。
将式(6)代入式(7),于是气体流量阀的流量和输入电流的关系为:
四、实验结果与分析
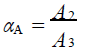
根据
流量调节阀试验标准搭建的试验系统见图2,用来测试比例气量控制阀的体积流量2电流(q
V-I)特性。测试系统的元件是针对被试阀的测试要求选定的,其中
截止阀1、截止阀2和
电磁阀为模拟进、出口流量和空载测试流量所用。被试阀的额定体积流量1000L/min,比例电磁铁的最大输出力为90N,总行程3.5mm。试验时启动气源,调节各截止阀,观察各压力表,体积流量调至与被试阀的相应工作流量,同时给被试阀一定的电流信号使之开启,随即调节截止阀2,并通过流量计测得其流量值,待阻尼流量测定后再开启电磁阀,亦测得其阀的出口气压为0的流量值。试验结果见图3。

1.过滤器 2.截止阀1 3.压力表 4.被试阀 5.截止阀2 6.电磁阀 7.流量计
图2 试验装置示图
从图3可以看出,比例气体控制阀的q
V-I特性不是一条直线,存在着开启与关闭过程不能重合的现象。这是由于采用的电2机械
转换器(比例电磁铁)的自有特性和阀口
流量特性的非线性以及气动力的影响,磁性材料的磁滞现象和存在于各运动件之间的摩擦力等因素也有影响。除此之外,该阀的其它性能较好地达到了应用要求。

图3 试验得到的体积流量2电流变化曲线图
五、结论
现有的机械式流量调节控制阀体积大、控制难。本文中介绍的比例气量控制阀具有控制简捷、节能、开启响应快、流量稳定等特点,适合于远程及计算机数字控制。