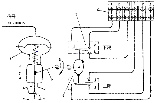
图8-35表示一种
阀位控制器的工作原理。当
气动执行机构1接受信号而推杆运动时,带动阀位控制器的转臂2、转轴3、凸轮4运动,在凸轮上有位置可调的滑块,凸块转动到某一位置,滑块就会触及微动开并5,改变微动开关输出接点的位置,把电路断开或接通。如果在电路中,把控制器的接线板6和信号灯、报警器等电器元件连接在一起,就可以显示
调节阀的工作位置、极限位置,也能及时报警。如果与保护系统中的
电磁阀、继电器等元件配套使用,可以进行联锁保护,及时地开启或关闭
阀门。

图8-35 阀位控制器动作原理
1-气动
执行机构;2-转臂;3-转轴;4-凸轮;5-微动开关;6-接线板